Revised May 2025
Components and systems- Introduction
- Introduction
- Numbers to remember
- General features of all anesthesia gas machines
- Features required by standard
- Path of gases within the machine
- Five tasks of oxygen
- Supply, Processing, Delivery, Disposal model
- High, Intermediate, and Low pressure circuits
- Manufacturers
Introduction
Definition: The anesthesia gas machine is a device which delivers a precisely-known but variable gas mixture, including anesthetizing and life-sustaining gases. The anesthesia gas machine is also called the anesthesia workstation, or anesthesia delivery system.
The components and systems described in this document are typical for any anesthesia gas machine. The differences between older gas machines (Ohmeda Modulus, Excel, ADU, or Aestiva and the Drager Narkomed GS, Mobile, MRI, 2B, 2C, 3 or 4) are less than their similarities. Therefore only the differences with the most impact on clinical practice are described for this generation of machines.
However, these older gas machines are becoming much less commonly used, as they pass the dates when the manufacturer's technical support and service are no longer available. The material on older machines is still valuable in a couple of settings. Older machines (if not discarded) often make their way to remote NORA (non-OR anesthesia) areas of the hospital, where general anesthesia is infrequent. Consequently, inadequate attention may be given to their functioning, stocking, and any unique checkout requirements. Or anesthetists may encounter them in low-resource environments on overseas missions.
Differences between models have more clinical impact with the latest generation of gas machines, because of the higher degree of computer-controlled systems, physiologic and machine functional monitoring, and electronic medical record integration. So the differences are more fully described here for new models from GE Healthcare (Aisys, Aespire, Avance) and Drager (Apollo, Perseus, Fabius GS).
Numbers to remember
The hospital pipeline is the primary gas source at 50 psi, which is the normal working pressure of most machines. Cylinders - Oxygen is supplied at around 2000 psi (regulated to approximately 45 psi after it enters the machine).
Oxygen flush is a "straight shot" from pipeline to common gas outlet (bypassing vaporizers and flowmeters); activation results in very high gas flow into the breathing circuit (35-75 L/min, approximately 1 liter/second).
OSHA links on Waste Anesthetic Gases (WAGs) gives the NIOSH recommendation to OSHA - occupational exposure should be limited to (an eight hour time-weighted average of) not more than 2 ppm halogenated agents (0.5 ppm if nitrous oxide in use), and not more than 25 ppm nitrous oxide.
General features of all anesthesia workstations
The basic pneumatic-mechanical design of the anesthesia gas machine had become familiar to the last generation of providers. Since then, the basic design has been called upon to perform more complicated functions, with the advent of advanced ventilation and sophisticated monitors into the operating room, especially pulse oximetry, capnography, and gas analysis.
The integration of computer controls has yielded a new generation of anesthesia gas machines, which have a great deal of added functionality in a small package. These delivery systems are designed from the start to integrate monitoring, advanced ventilation, and the electronic anesthesia record. Examples of this new wave are the Aisys CS/2 and Perseus. These gas machines are being purchased because they
- enhance patient safety
- more reliable and capable components such as ventilators, vaporizers, flowmeters
- integrated, computer-controlled alarms
- feature advanced ventilation modes. Most are based on pressure controlled breaths, and allow the addition of PEEP (not all modes are available on every model).
- pressure control ventilation (PCV)
- pressure control ventilation with volume guarantee (PC-VG or Autoflow)
- synchronized intermittent mandatory ventilation (SIMV)
- pressure support ventilation (PSV) and continuous positive airway pressure (CPAP)
- bi-level positive airway pressure (BiPAP) and airway pressure release ventilation (APRV)
- perform compliance and leak testing of the breathing circuit, and thereby promote low flow anesthesia.
- They also improve accuracy in delivered tidal volumes in volume-control mode (VCV), but this mode is used much less frequently at present.
- are smaller and lighter (in some cases) because they have integrated monitoring
- allow automated record keeping more easily than traditional designs
- electronic capture of fresh gas flow
- microprocessor integration
- feature improved monitors,and innovative new monitoring capabilities (spirometry, and flow-time waveforms)
Required components of an anesthesia workstation
A former (withdrawn in 2014) anesthesia gas machine (workstation) standard was ASTM F1850 (by the American Society for Testing and Materials). With designs diverging more widely than in the past, no one standard can easily be applied to all workstations. But F1850 is still useful as a listing of desired systems.
- Battery backup for 30 minutes
- Alarms
- High, medium, and low priority. High priority alarms may not be silenced for more than 2 minutes.
- Certain alarms and monitors must be automatically enabled and functioning prior to use, either through turning the machine on, or by following the pre-use checklist: breathing circuit pressure, oxygen concentration, exhaled volume or carbon dioxide (or both).
- A high-priority pressure alarm must sound if user-adjustable limits are exceeded, if continuing high pressure is sensed, or for negative pressure.
- Disconnect alarms may be based on low pressure, exhaled volume, or carbon dioxide.
- Required monitors
- Exhaled volume
- Inspired oxygen, with a high priority alarm within 30 seconds of oxygen falling below 18% (or a user-adjustable limit).
- Oxygen supply failure alarm
- A hypoxic guard system must protect against less than 21% inspired oxygen if nitrous oxide is in use.
- Anesthetic vapor concentration must be monitored.
- Pulse oximetry, blood pressure monitoring, and EKG are required
- Pressure in the breathing circuit is limited to 12.5 kPa (125 cm water).
- The electrical supply cord must be non-detachable or resistant to detachment.
- The machine must have at least one oxygen cylinder attached.
- The hanger yoke must be pin-indexed, have a clamping device that resists leaks, and contain a filter. It must have a check valve to prevent transfilling, and a cylinder pressure gauge. There must be cylinder pressure regulators. The machine must use pipeline gas as long as pipeline pressure is greater than 345 kPa (50 psi).
- Flowmeters:
- Single control for each gas, with each flow control next to a flow indicator
- Uniquely shaped oxygen flow control knob
- Valve stops (or some other mechanism) are required such that excessive rotation will not damage the flowmeter.
- Oxygen flow indicator is to the right side of a flowmeter bank
- Oxygen enters the common manifold downstream of other gases
- An auxiliary oxygen flowmeter is strongly recommended
- An oxygen flush is present, capable of 35-75 L/min flow which does not proceed through any vaporizers.
- Vaporizers
- Concentration-calibrated
- An interlock must be present
- Liquid level indicated, designed to prevent overfilling
- "Should" use keyed-filler devices
- No discharge of liquid anesthetic occurs from the vaporizer even at maximum fresh gas flow
- Only one common gas outlet at 22 mm outer diameter, 15 mm inner diameter, which is designed to prevent accidental disconnection
- Pipeline gas supply
- Pipeline pressure gauge
- Inlets for at least oxygen and nitrous oxide, all DISS protected
- In line filter and Check valve
- Checklist must be provided (it may be electronic, or performed manually by the user)
- A digital data interface must be provided
Path of gases within the machine
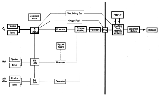
Oxygen has five "tasks" in the AGM; it powers the
- ventilator driving gas
- flush valve
- oxygen pressure failure alarm
- oxygen pressure sensor shut-off valve ("fail-safe")
- flowmeters.
It also plays a role in the hypoxic guard system, which maintains the correct proportion between flows of oxygen and nitrous oxide.
 |
Diagram of the five tasks of oxygen. Click on the thumbnail, or on the underlined text, to see the larger version (26 KB).
|
The path of gases through the machine is illustrated in Venticinque & Andrews (Miller), or Dorsch & Dorsch, or M Dosch in Nurse Anesthesia (Nagelhout & Elisha 2021). This is but one way to conceive of the machine- a better way might be the Supply, Processing, Delivery & Disposal model.
Supply
How do gases come to the anesthesia gas machine?
(Site: back of the machine)
- Pipeline (Wall outlets, Connecting valves and hoses, Filters and check valves, Pressure gauges)
- Cylinders (Hanger yokes [yoke block], Filters and check valves, Pressure gauge, Pressure regulators)
Processing
How does the anesthesia gas machine prepare gases before their delivery to the breathing circuit?
(Site: within the machine, proximal to common gas outlet)
- Fail-safe (oxygen pressure-failure devices)
- Flowmeters (main and auxiliary)
- Oxygen flush
- Low oxygen pressure alarms
- Ventilator driving gas
- Proportioning systems (hypoxic guard)
- Oxygen second-stage regulator (if present)
- Vaporizers
- Check valves distal to vaporizers (if present)
- Common gas outlet
Delivery
How is the interaction of gases with the patient controlled and monitored?
(Site: breathing circuit)
- Gas delivery hose connecting common gas outlet and breathing circuit
- Breathing circuits (Nonrebreathing or Circle)
- Carbon dioxide absorption
- Ventilators
- Monitors (Oxygen analysis, Disconnect, Spirometry, Capnography, Airway pressure & flow, Ventilator alarms)
- Means of humidification
Disposal
How are gases disposed of? (Site: scavenger)
- Scavenger systems
- Closed interface (active and passive)
- Open interface (the more modern and in some ways safer design)
The machine components can also be logically conceptualized by the amount of pneumatic (gas) pressure they are exposed to:
- The High-pressure circuit consists of those parts which receive gas at cylinder pressure
- cylinder hanger yokes (including filter and unidirectional valve)
- cylinder pressure gauge and cylinder pressure regulators
- The Intermediate pressure circuit receives gases at low, relatively constant pressures (37-55 psi, which is pipeline pressure, or the pressure downstream of a cylinder regulator)
- pipeline inlets and pressure gauges
- ventilator power inlet
- Oxygen pressure-failure device (fail-safe) and alarm
- flowmeter valves
- oxygen and nitrous oxide second-stage regulators (if present)
- oxygen flush valve
- The Low-pressure circuit includes components distal to the flowmeter needle
- valves
- flowmeter tubes
- vaporizers
- check valves (if present)
- common gas outlet
There are two major manufacturers of anesthesia gas machines in the United States.
- Dräger Medical Inc. (Telford, PA) currently offers the Atlan, Perseus A500, Apollo, Fabius (GS Premium, MRI, Tiro, Tiro M).
- GE Healthcare (Madison, WI) currently offers the Aisys CS2 and Avance CS2